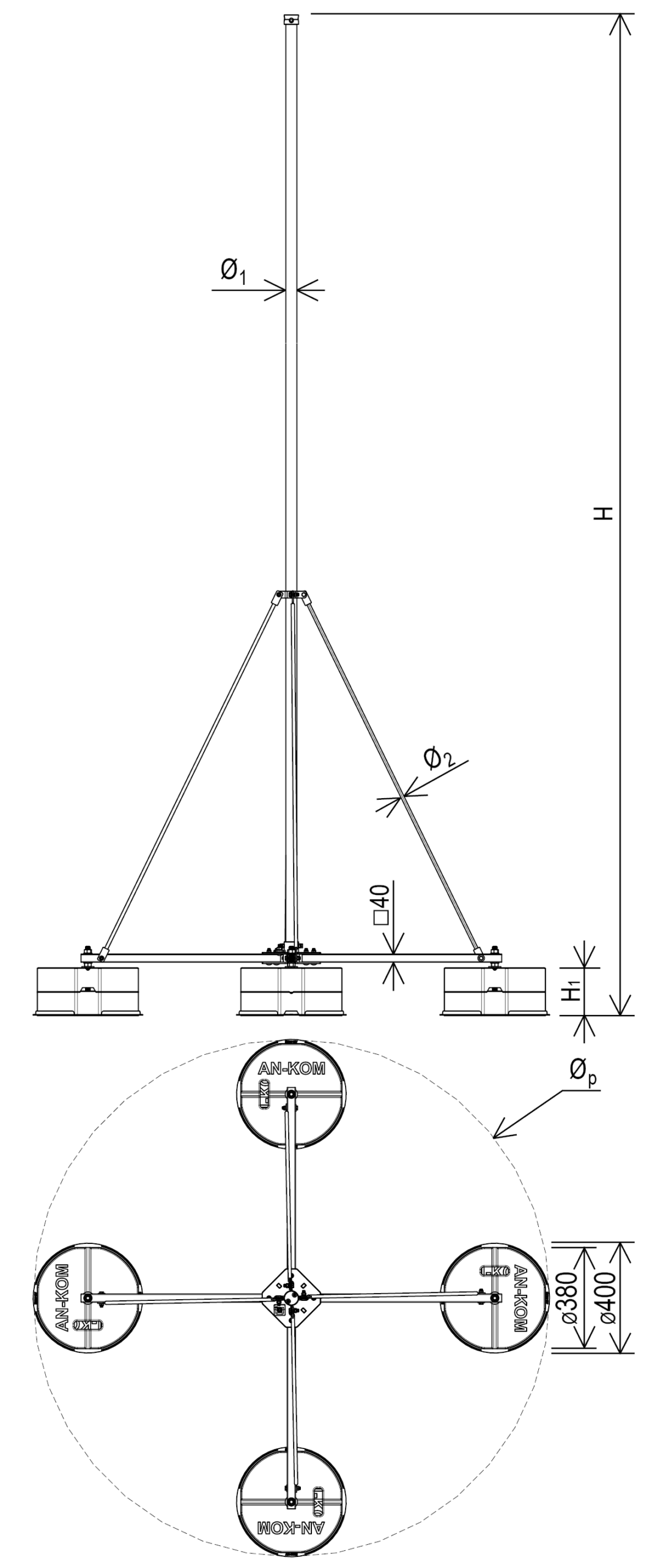
Maszt klatkowy aluminiowy wolnostojący na czwórnogu. Służy do budowy zwodów poziomych podwyższonych (klatek ochronnych).
Rozpiętość linki pomiędzy dwoma masztami o tej samej konstrukcji: do 10m.
Mocowanie przewodu wykonane ze stali nierdzewnej.
ZALECAMY:
Wykonanie dodatkowej warstwy rozdzielającej pokrycie dachowe od konstrukcji kompletnego masztu. Do rozdzielenia wykorzystujemy materiał danego pokrycia dachowego.








