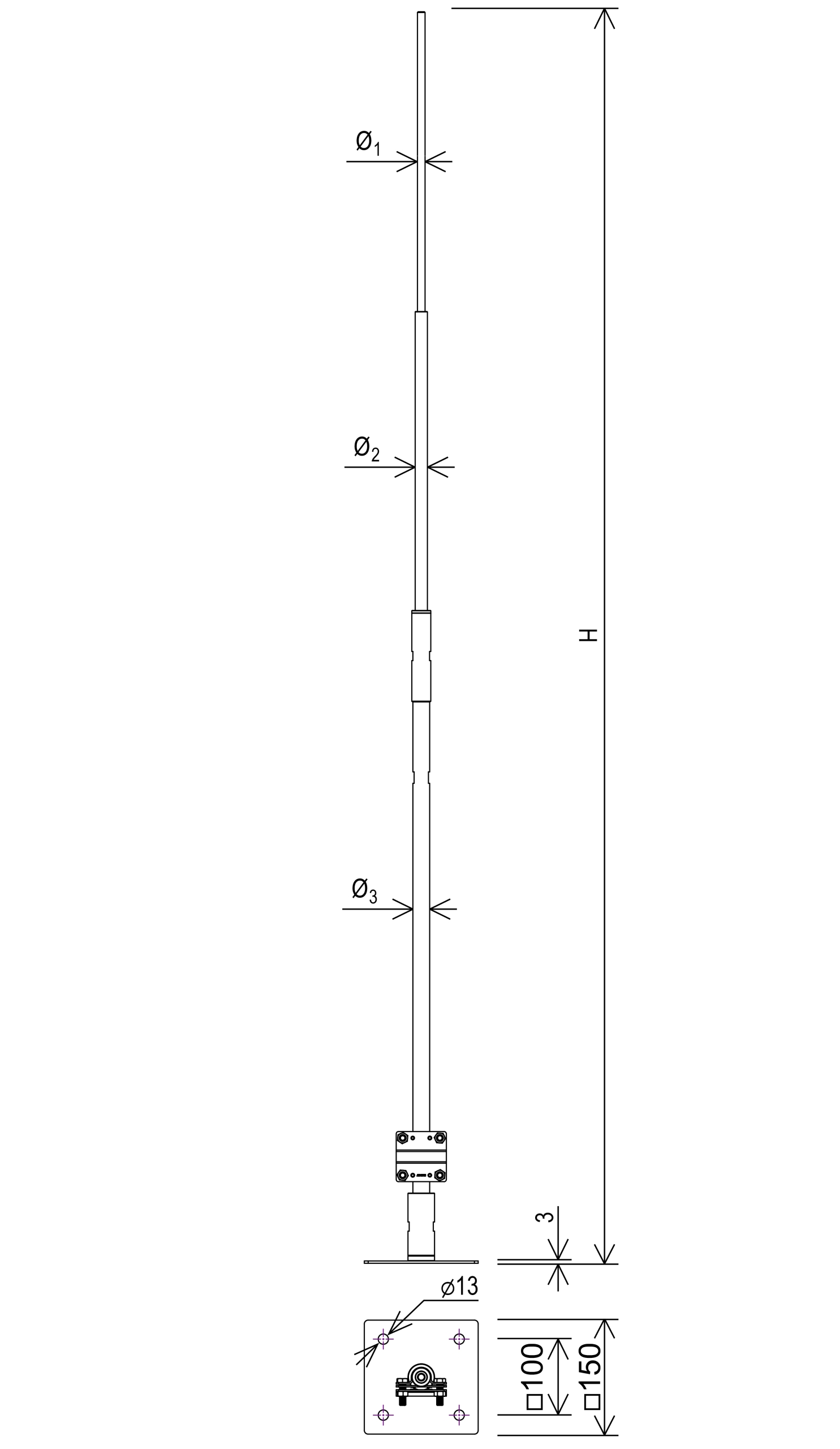
Iglice aluminiowe prętowe służą do ochrony urządzeń narażonych na bezpośrednie działanie prądu pioruna.
Zawsze oferowane są w komplecie z osprzętem: złącze do odprowadzenia prądu pioruna.
MONTAŻ: poprzez przykręcenie podstawy masztu do podkonstrukcji.
Podstawa masztu wykonana ze stali nierdzewnej kwasoodpornej /OH/.
*F (kN) – minimalne obciążenie wyrywające kotwy








