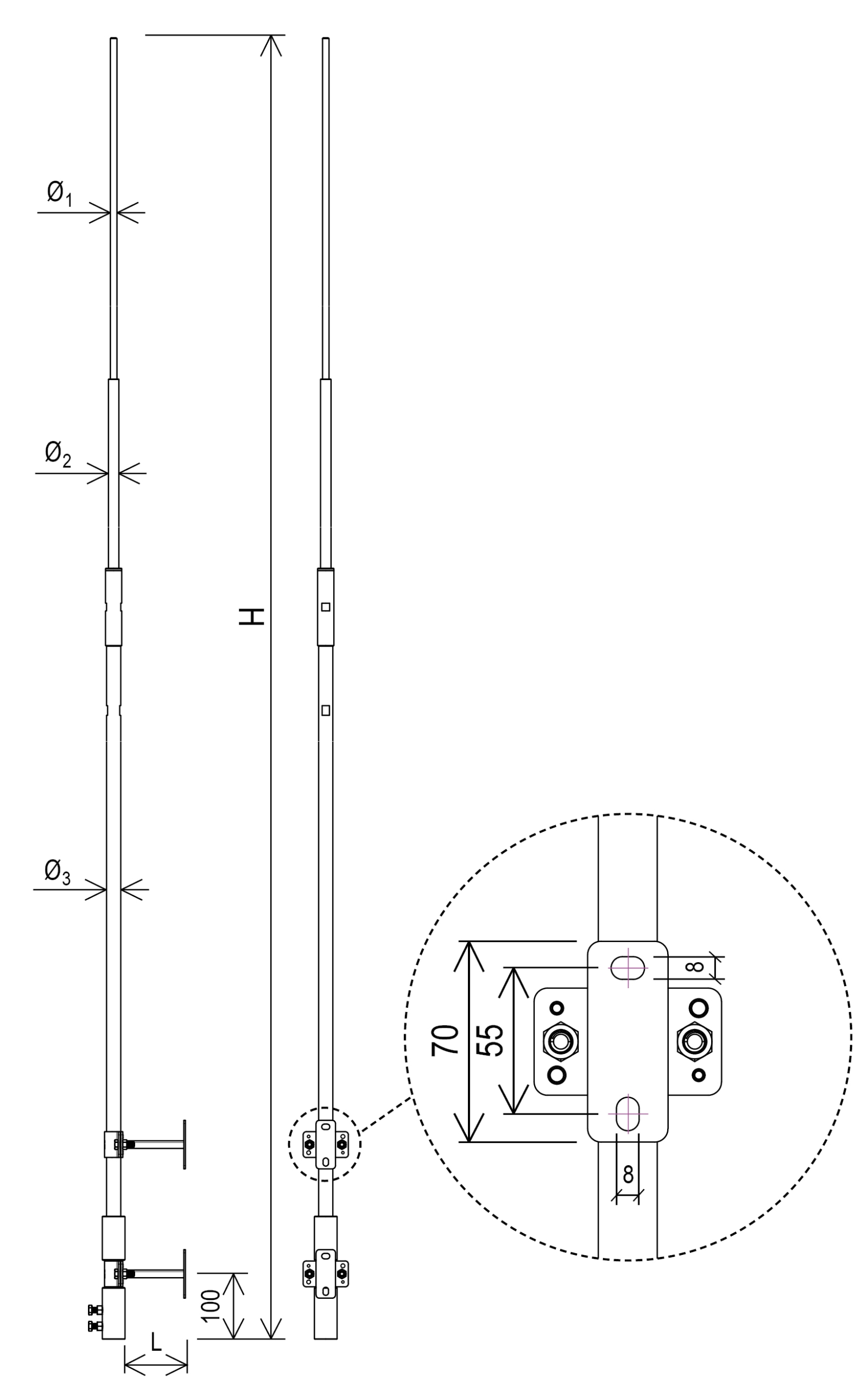
Iglica aluminiowa służy do ochrony urządzeń narażonych na bezpośrednie działanie prądu pioruna. Wyposażona jest w złącze umożliwiające podłączenie do przewodu odgromowego. Sprzedawana w komplecie z uchwytami do montażu w stali cynkowanej ogniowo.

Iglica aluminiowa służy do ochrony urządzeń narażonych na bezpośrednie działanie prądu pioruna. Wyposażona jest w złącze umożliwiające podłączenie do przewodu odgromowego. Sprzedawana w komplecie z uchwytami do montażu w stali cynkowanej ogniowo.

| symbol typ |
H926457 AN-616EI/ALS/ |
| H (mm) |
3000 |
| Ø1 (mm) |
10 |
| Ø2 (mm) |
16 |
| Ø3 (mm) |
22 |
| L (mm) |
150 |
| wymiar przewodu (mm) |
Ø8 |
| wersja materiałowa | stop aluminium |